This is an Alan approved option I added to soothe spousal concerns.
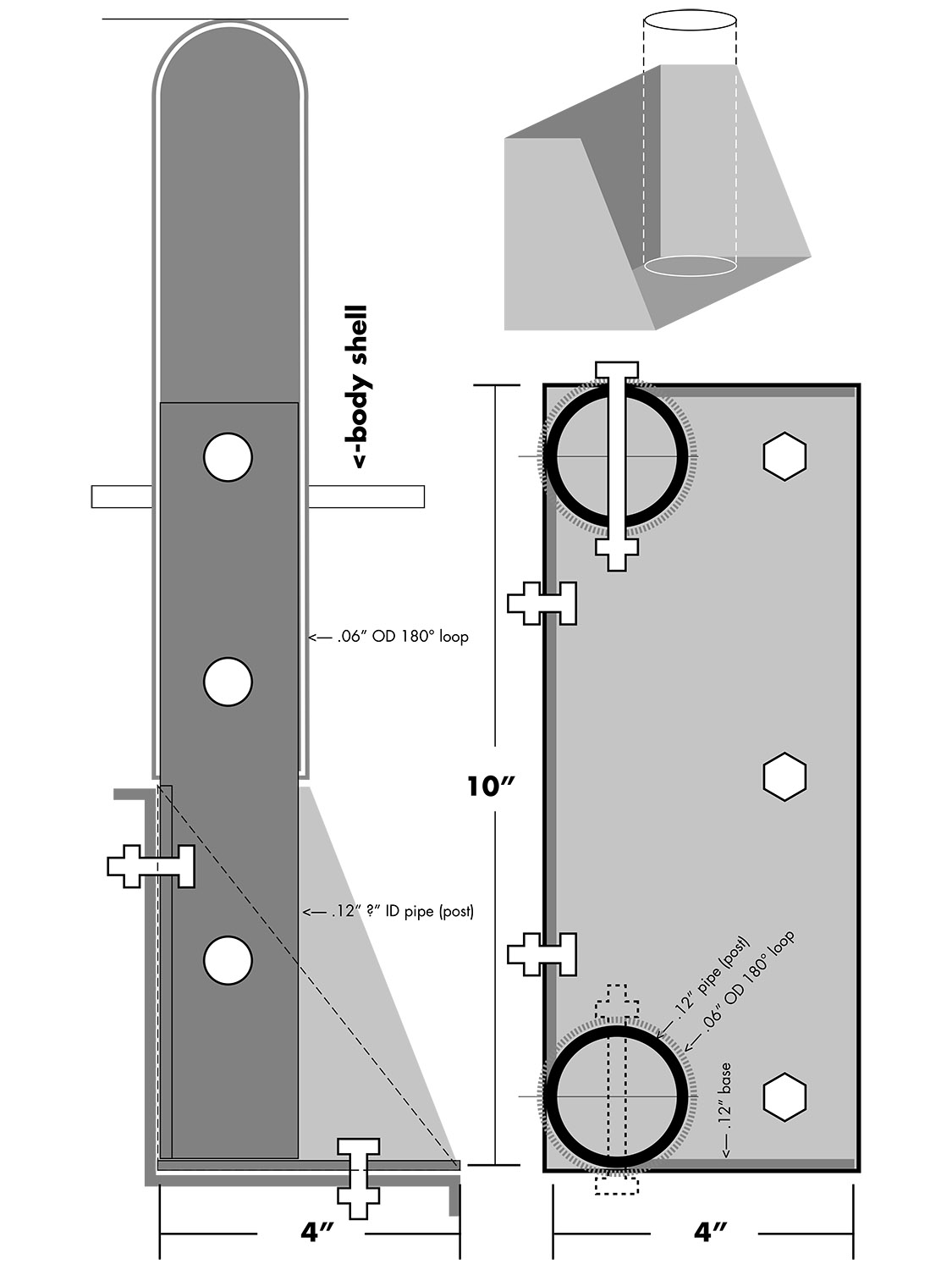
Designed to nestle in the chassis' central rear "hard point" yet be removable, which made fabrication a bit tricky since installation would have to be done AFTER the body shell is mounted.
single hoop rollbar
Re: single hoop rollbar
A very neat job

-
EricStarmer
- Posts: 288
- Joined: Fri Sep 28, 2018 4:51 pm
- Location: USA
Re: single hoop rollbar
Frederick - yours is the best-looking Triking roll bar I've seen - roughly how much did it cost to have that bend put in the (stainless?) tubing ?
Re: single hoop rollbar
Thanks Eric...found it online.
That was the hardest part, all the local fab shops either wouldnt touch it or if they would, didnt have a narrow enough width (10”) mandril that would bend stainless in an appropriate wall thickness. I can dig up the vendor if you’re interested.
That was the hardest part, all the local fab shops either wouldnt touch it or if they would, didnt have a narrow enough width (10”) mandril that would bend stainless in an appropriate wall thickness. I can dig up the vendor if you’re interested.
-
EricStarmer
- Posts: 288
- Joined: Fri Sep 28, 2018 4:51 pm
- Location: USA
Re: single hoop rollbar
Thanks, Frederick - that's OK , I have too many other things going right now anyway - I was amazed at how tight a turn they were able to make in that tubing without it buckling or splitting on the outside !